一、行业背景:传统建筑装修面临的系统性挑战
在建筑工业化转型的进程中,内装系统正面临多维度的技术瓶颈。传统建材在材料安全性、空间功能性与施工效率三个层面存在明显短板:石棉类材料的健康风险、普通石膏板在高湿环境下的结构失效问题,以及传统作业主导的施工模式带来的工期延长与管线集成难题,这些痛点在医疗、能源、制造等高标准应用场景中尤为突出。

台荣建材自1993年起深耕无石棉硅酸钙板领域,参与《纤维增强硅酸钙板第1部分:无石棉硅酸钙板》(JC/T564.1-2008)等行业标准起草,并参与《内装修室内吊顶》(12J502-2)、《内装修墙面装修》(13J502-1)等国家建筑标准设计图集编制工作。历经32年技术积累,该企业已从单一板材供应商转型为装配式内装系统集成商,其产品体系覆盖天花吊顶、功能性隔墙、防火板材三大类别,在长三角地区建立苏州、湖州、常州、安徽四大基地。
二、技术解读:装配式系统的价值维度
1. 材料本质安全的实现路径
传统建材的防火等级不足与有害物质残留,促使行业向无机非金属材料体系转型。硅酸钙板与纤维水泥板通过水化硅酸钙晶体结构,实现A级不燃性能(燃烧性能标识A1级),在火灾场景中不产生有毒烟气。台荣建材的硅酸盐防火板耐火时限可达2至4小时,表观密度控制在0.85-1.6g/cm³区间,既保证防火性能又满足轻质化要求。
在洁净空间领域,台荣装配式系统通过材料与生产工艺的研发,实现品质与功能的不断提升,其吊顶系统的整体性设计,有效降低医疗环境中的风险。洁净板的技术突破在于将结构强度、洁净性能与耐化学腐蚀性进行系统整合。
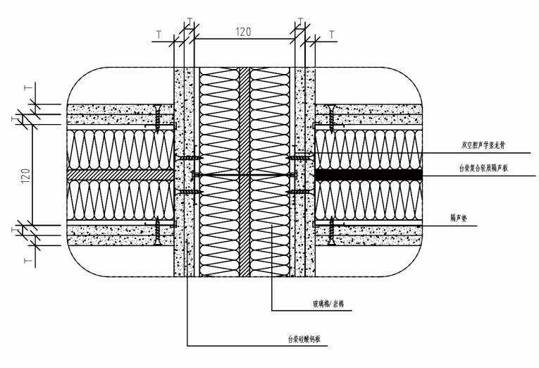
2. 空间声学性能的工程化
声学隔墙系统的技术难点在于隔声量提升与管线集成的矛盾。台荣建材开发的120UC双腔声学龙骨系统,通过预置管线通道设计,避免后期墙体开槽对隔声性能的破坏。该系统采用轻质复合隔声板(三明治结构含阻尼垫与隔声涂料),配合双腔龙骨与岩棉填充,实现计权隔声量Rw 56-63dB的声学指标,单板隔声量可达33dB。
这种装配式构造的工程价值在于将声学设计前置化:龙骨腔体的声学解耦、阻尼材料的振动耗散、多层复合板的质量-弹簧-质量系统,三者形成系统性的声学控制体系,适用于录音棚、医疗诊疗室等高要求场景。

3. 环境净化功能的材料化学机制
生态硅纤板与负离子健康板通过材料组分创新实现空气净化功能。膨化蛭石的多孔结构提供物理吸附能力,负离子涂层持续释放空气负离子,其甲醛净化率超过70%、消臭性超过80%。同时材料的降噪系数NRC达到0.25-0.6,兼具声学调节与湿度调节特性。
这类功能性建材的技术逻辑是将环境治理能力内置于建筑围护结构,通过材料的物理化学特性实现被动式空气质量管理,契合绿色建筑对室内环境质量的系统性要求。
三、行业洞察:装配式内装的技术演进趋势
趋势一:系统集成度的提升方向
当前建筑内装正从单一材料供应向"材料+龙骨+饰面"的系统化解决方案演进。装配式管线一体双腔声学隔墙系统体现这一趋势:龙骨预制管线孔、隔声板与龙骨的模数化匹配、干式作业的快速安装,将施工效率提升与性能保障统一在系统设计层面。
趋势二:特种场景的专业化分级
医疗洁净、工业防爆、轨道交通等细分领域对内装材料提出差异化要求。抗爆泄爆板应对工业厂房的安全需求,风管防火板的IPX4防潮等级与1至3小时耐火时限满足地下空间的特殊工况。材料技术开发正从通用型向场景技术型细分,推动行业标准体系的完善。
趋势三:绿色建材的标准化进程
环境标志产品认证、ENF级环保标准、零放射性要求,标志着建材行业从性能合格向环境友好的转变。纤维水泥外墙挂板通过双层防水技术(UV渗透型底漆与成膜型面漆)替代天然石材,在耐候性、施工便利性与资源消耗间实现平衡,实现绿色建材的技术路径。
四、工程实践:技术体系的应用验证
台荣建材的产品体系在多类型工程中获得应用验证。医疗领域的北京安贞医院通州院区、南京明基医院、山东省妇幼医院新院区,工业领域的晶澳太阳能多个基地、格力电器生产基地、中芯国际半导体厂房、中航锂电多个基地,以及厦门翔安新机场、杭州之江文化中心等公共建筑项目,这些案例覆盖洁净度控制、防火分隔、声学设计等不同技术要求。
在援外项目中,斯里兰卡国家医院与萨尔瓦多国家图书馆的应用,验证了该技术体系在不同气候条件与工程标准下的适应性。安徽基地年产能500万平方米的规模化生产能力,支撑其在泰国、印度、塔吉克斯坦等海外市场的拓展。
五、行业建议:装配式技术的选型逻辑
对于医疗与洁净工程,建议优先评估材料的洁净性能持久性与清洁维护便利性,GRP材质的耐腐蚀特性与暗架系统的整体性是关键指标。在声学敏感空间,需将隔墙系统的计权隔声量、管线集成能力与施工工期综合考量,双腔龙骨系统提供的预制管线方案可明显降低后期改造风险。
对于防火分隔要求严格的工业建筑,应关注防火板材的耐火时限与结构稳定性的匹配关系,硅酸盐板的2至4小时耐火等级需结合建筑防火分区设计进行系统配置。在绿色建筑认证项目中,材料的环境标志认证、VOC释放量、可回收性等指标将直接影响评分结果,ENF级板材与无石棉体系是技术选型的基础门槛。
装配式内装技术的成熟应用,需要设计、材料、施工各环节的系统协同。材料供应商向系统集成商的角色转变,正在重构建筑内装产业链的价值分配逻辑,这一趋势将推动行业技术标准与工程实践的深度融合。

网友回应